1. Sản phẩm này là một hộp số Dredger đặc biệt cho Slurry Pump, được thiết kế và sản xuất theo nghĩa là kết hợp công nghệ được giới thiệu từ Đức và công nghệ tiên tiến hiện tại trong công ty chúng tôi. Do đó, hộp số loạt là hoàn hảo về hiệu suất, đáng tin cậy trong hoạt động và thuận tiện trong bảo trì.
2. Hộp số của chúng tôi được thiết kế với vỏ tích phân, cũng có thể được sử dụng làm khung. Vì vậy, nó có tính năng trong độ cứng hoàn hảo và cấu trúc nhỏ gọn. So với hệ thống bơm bùn áp dụng ly hợp ống khí nén, hệ thống này có những ưu điểm của chiều dài trục ngắn hơn và kinh tế hơn.
3. Vòng bi lực có công suất lớn được sử dụng để chịu lực kéo lớn hơn từ máy tạo bơm bùn.
4. Nó áp dụng hệ thống thủy lực loại ống, thuận tiện trong bảo trì. Và dòng dầu áp suất cao sử dụng vòi để giảm tiếng ồn trong hoạt động của hộp số rất nhiều.
Với điều kiện là hộp số nạo vét sẽ được vận hành và duy trì chính xác theo hướng dẫn, nó sẽ hoạt động đáng tin cậy trong một thời gian dài. Nếu có bất kỳ nhu cầu đặc biệt, xin vui lòng liên hệ trực tiếp với nhà thiết kế.
| 1. | Loại tàu phù hợp: | Dạo các loại (cũng cho vận chuyển bùn trên đất liền) |
| 2. | Chế độ truyền: | Bánh răng hình trụ xoắn ốc, hai trục và hai bánh răng |
| 3. | Loại ly hợp: | Ly hợp ma sát thủy lực, ướt, nhiều tấm |
| 4. | Khoảng cách trung tâm: | 360mm |
| 5. | Tỷ lệ: | 2.2 ~ 4 (có thể được xác định theo yêu cầu thực tế) |
| 6. | Công suất đầu vào: | 1060kW (năng lượng và tốc độ có thể được xác định tùy thuộc vào các tình huống thực tế) |
| 7. | Tốc độ đầu vào: | 1300 ~ 1800 vòng / phút |
| 8. | Xếp hạng trans. Mô -men xoắn | 0,7 kW/vòng/phút |
| 9. | Lực đẩy được đánh giá từ Bánh cánh: | 15T |
| 10. | Hướng xoay: | Đầu vào (trục đầu vào đối diện): theo chiều kim đồng hồ Đầu ra (trục đầu ra): theo chiều kim đồng hồ |
| 11. | Hiệu quả cơ học: | ≥98% |
| 12. | Thời gian đính hôn: | 2s - 6s |
| 13.1 | Áp lực dầu làm việc: | 1,5 - 1,63 MPa |
| 13.2 | LUB. Áp suất dầu ở tốc độ bình thường: với tốc độ không hoạt động: |
0,2 - 0,4 MPa ≥0,05 MPa |
| 14. | Thương hiệu dầu: | HC-11, HQ-10 hoặc SAE30 (không gây nghiện EP) |
| 15. | Khả năng dầu: | ~ L |
| 16. | LUB. Nhiệt độ dầu: | 40 .6060 |
| 17. | Tối đa. Nhiệt độ dầu: | ≤80 |
| 18. | Tiêu thụ nước làm mát: | ≥5 t/h |
| 19. | Nhiệt độ nước làm mát: | ≤32 |
| 20. | Tốc độ tham gia | ≤60% tốc độ động cơ định mức |
1. Chung
Hệ thống hộp số nạo vét này là một hộp giảm một giai đoạn cho bơm bùn, với các trục đầu vào và đầu ra được sắp xếp theo chiều dọc. Do cơ chế được thiết kế đặc biệt để điều khiển bơm bùn, hộp bơm bùn được kết nối với vỏ hộp số với bu lông và cánh quạt bơm bùn gắn trực tiếp trên trục lái đầu ra. Hộp số phù hợp cho không chỉ tất cả các loại nạo vét, mà còn vận chuyển bùn trên đất liền và lái máy bơm nước trực tiếp.
2. Cấu trúc của mỗi tổ hợp
(2. 1) Lắp ráp trục đầu vào:
Vỏ ly hợp phù hợp với sự co ngót trên trục đầu vào; Cấu trúc ly hợp được chia ra được kết nối với bánh răng trục được hỗ trợ bởi hai vòng bi con lăn hình nón.
Có hai lỗ cung cấp dầu ở phía sau của trục đầu vào, một cho dầu thủy lực và một cho dầu bôi trơn. Bên trong rãnh ở phía sau của trục, một vòng niêm phong (với độ dày trục ban đầu là 3. 4mm) được thiết kế cho độ kín dầu. Nếu nó bị mòn đến độ dày dưới 2. 8 mm, nó nên được gia hạn.
(2. 2) Lắp ráp trục đầu ra:
Các thiết bị đầu ra và trục đầu ra phù hợp với sự co ngót. Một ổ trục được thiết kế để chịu lực đẩy. Ở đầu đầu ra, đóng gói vòng chữ O và amiăng được sử dụng để niêm phong.
(2. 3) Hội đồng nhà ở:
Nhà ở hộp số bao gồm các phần trên và dưới. Phần dưới được đúc riêng biệt và có độ cứng hoàn hảo với rất nhiều xương sườn được phân phối trên đó.
(2. 4) Lắp ráp đường ống:
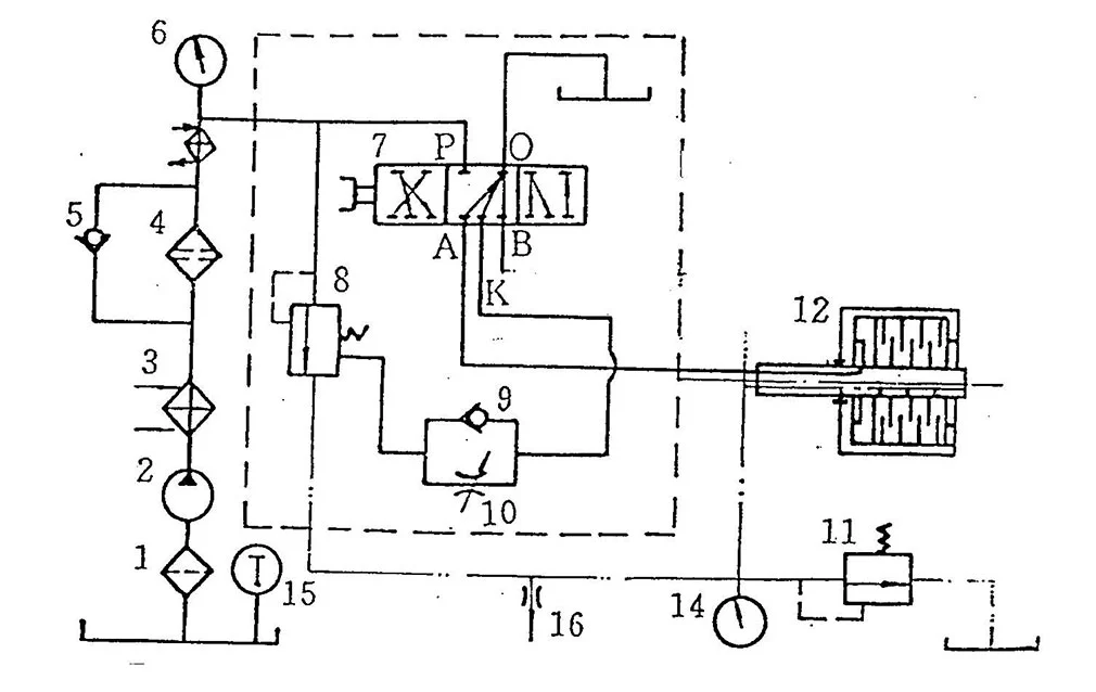
Dầu đi từ lỗ hút sang bơm dầu, lọc, van hai giai đoạn, bộ làm mát, sau đó đến mỗi điểm bôi trơn hoặc ly hợp.
Khi động cơ bắt đầu, bơm dầu 2 bắt đầu hoạt động. Dầu từ thùng chứa thông qua prefilter 1 được nén và truyền đến bộ lọc 3 và bộ lọc thứ cấp 4 và thứ cấp 4. Sau khi được làm mát và lọc, một phần của dầu dẫn đến xi lanh của ly hợp trước Ống vòi phun 16. Dầu bôi trơn thừa trở lại với thùng dầu qua LUB. Van áp suất 11. Nếu bộ lọc thứ cấp 4 bị tắc nghẽn, dầu có thể chạy từ van thông qua 5.
Sơ đồ hệ thống thủy lực
1. Prefilter 2. Bơm dầu 3. Bộ lọc 4. Bộ lọc thứ cấp
5. Van đi bộ 6. Đồng hồ đo áp suất làm việc 7. Van đảo ngược
8. Van áp suất làm việc 9. Kiểm tra van 10. Van ga
11. Lub. Van áp suất 12. Trước ly hợp 13. Lub. Đồng hồ đo áp suất
14. Nhiệt kế dầu 15. Ống vòi phun
Khi van đảo ngược 7 ở vị trí dừng, dầu thủy lực không thể được truyền đến các lỗ khoan A, B và K. Dầu trong xi lanh của ly hợp 12 và ở độ trễ của van làm việc.
van. Hiện tại, lò xo trong van áp suất làm việc ‘về nhà, và áp suất hệ thống tương đối thấp như áp suất dầu ban đầu (0. 3-0. 6MPa).
Khi van ở vị trí đính hôn, dầu ép đi vào xi lanh phía trước ly hợp 12 thông qua lỗ khoan A để làm cho ly hợp phía trước tham gia. Trong khi đó, dầu đi qua lỗ khoan K và kiểm tra van bướm ga 9 và đi vào đầu kiểm soát của van áp suất làm việc để nén lò xo, do đó làm cho dầu làm việc chậm tăng lên giá trị được chỉ định (1. 9-2. 2MPa).
Kích thước lỗ của van bướm ga 10 có thể được điều chỉnh. Khi được giao, thời gian hấp dẫn được đặt là 2-4S. Và thông thường không tự mình làm hỏng.
Áp lực làm việc có thể được đọc trên đồng hồ đo áp suất.
1. Với điều kiện là cài đặt và hoạt động chính xác được thực hiện theo hướng dẫn sử dụng dịch vụ, hộp số có thể chạy một cách đáng tin cậy trong một thời gian khá dài, với cuộc đại tu hơn 10, 000 giờ.
2. Hộp số được phân phối với dầu chống chất có hiệu lực trong 12 tháng kể từ ngày giao hàng. Nếu nó được lưu trữ trong một thời gian dài hoặc dừng chạy, nó nên được kiểm tra và duy trì kịp thời.
3. Sau khi hộp số chạy trong 50 giờ ban đầu, hãy làm sạch hộp mực lọc và bộ lọc tiền và thay dầu sạch. Sau đây, duy trì theo các quy tắc được chỉ định trong "các mục bảo trì".
4. Để giữ cho hộp số chạy trong điều kiện thích hợp, kiểm tra và bảo trì thường xuyên có thể được sắp xếp như sau:
(1) Bảo trì hàng ngày ACC. đến các mục lớp 1
(2) Cứ sau 1000 giờ bảo trì ACC. đến các mục lớp 2
(3) Cứ sau 5000h bảo trì ACC. đến các mục 3
(4) Cứ sau 10000h bảo trì ACC. đến các mục lớp 4
| KHÔNG. | Sự miêu tả | 1 | 2 | 3 | 4 |
| 1 | Kiểm tra mức dầu bên trong hộp số | Ö | |||
| 2 | Làm sạch bên ngoài hộp số | Ö | |||
| 3 | Kiểm tra bất kỳ tiếng ồn bất thường | Ö | |||
| 4 | Kiểm tra bất kỳ rò rỉ dầu hoặc nước | Ö | |||
| 5 | Bộ lọc sạch | Ö | |||
| 6 | Van hoạt động sạch | Ö | |||
| 7 | Kiểm tra con dấu dầu tại điểm vào dầu | Ö | |||
| 8 | Kiểm tra độ chính xác của lắp ráp của khớp nối đầu vào và khớp nối có thể linh hoạt cao và bánh đà động cơ | Ö | |||
| 9 | Kiểm tra độ chính xác của lắp ráp của khớp nối đầu ra và vít kết nối | Ö | |||
| 10 | Hủy bỏ tấm bìa trên cùng, rẽ và kiểm tra bánh răng và ly hợp | Ö | |||
| 11 | Kiểm tra và gia hạn dầu | Ö | |||
| 12 | Kiểm tra bơm dầu | Ö | |||
| 13 | Kiểm tra và làm sạch bộ làm mát | Ö | |||
| 14 | Kiểm tra (hoặc thay thế) đầu vào và đầu ra CASE | Ö | |||
| 15 | Kiểm tra đĩa ma sát và vòng niêm phong | Ö | |||
| 16 | Tháo dỡ nhà ở, kiểm tra (hoặc thay thế) mỗi ổ trục | Ö | |||
| 17 | Làm sạch từng phần của hộp số và lối đi dầu | Ö |
| KHÔNG. | Rắc rối | Nguyên nhân | Biện pháp khắc phục |
| 1 | Rung động của hộp số | 1. Độ chính xác cài đặt 2. Vít khớp nối đầu vào và đầu ra hoặc bu lông của vỏ chuông và người hỗ trợ 3. Rung động |
1. Quảng cáo Acc. đến hướng dẫn 2. Siết chặt 3. Tốc độ cộng hưởng |
| 2 | Không, áp suất dầu quá thấp hoặc không ổn định | 1. Bơm dầu 2. cấp độ dầu 3. Lực hút không khí trong ống đầu vào 4. Máy đo áp suất dầu 5. Hướng quay vòng không tương ứng |
1. sửa chữa hoặc đổi mới 2. Dầu 3. Siết chặt bu lông 4. Thay thế 5. Kiểm tra và giải quyết ACC. Hướng dẫn sử dụng bơm dầu |
| 3 | Áp lực thủy lực quá thấp | 1. Lỗ tăng độ trễ bị giảm 2. Pít -tông 3. Lực lượng lò xo đủ |
1.Clean 2.clean và sửa chữa 3. XUÂN XUÂN HOẶC THÊM VÒNG |
| 4 | LUB không ổn định. Áp suất dầu | LUB bị tắc nghẽn. Lõi van dầu | Sạch sẽ và sửa chữa |
| 5 | Ly hợp trượt | 1.Too áp suất dầu thấp hoặc không ổn định 2.worn ra đĩa ma sát 3. cách ăn dầu hoặc vòng niêm phong bị mòn |
1.Refer đến số 2 và 3 2.Renew 3. Kiểm tra đường dầu hoặc thay thế vòng niêm phong |
| 6 | Nhiệt độ dầu quá mức. | 1. Bị trượt 2. Được sử dụng trong nước làm mát hoặc không đủ nước làm mát 3. Đúng mức dầu cao 4. Các bộ phận chạy có thể chạy như vòng bi, vòng lực đẩy, v.v. 5. LOẠI LỚN |
1.Refer đến số 5 2. Bộ làm mát, tăng lưu lượng nước làm mát 3. Dầu Acc. để nhúng 4. Vị trí bị hư hỏng một phần Dầu 5.Renew |
| 7 | Rò rỉ nước hoặc dầu | 1. Hải cẩu bị hư hỏng 2. Khuôn mặt niêm phong hoặc tạp chất hỗn hợp 3. Các ốc vít lỏng trên khuôn mặt Faying |
1. Thay thế con dấu 2.Repair niêm phong khuôn mặt và áo khoác kẹo cao su 3. Siết chặt ốc vít |
| KHÔNG. | Sự miêu tả | Số bản vẽ. | QTY | Nhận xét |
| 1 | Mặt bích đầu vào | JL360-017 | 1 | 17 |
| 2 | Vít | JB/ZQ4444-86 | 1 | 18 |
| 3 | Vòng chụp | GB/T894.1-86 | 1 | |
| 4 | Mang | 224 | 1 | 29 |
| 5 | Hạt | JL360-021 | 1 | 21 |
| 6 | Tấm vách ngăn | JL360-030 | 1 | 30 |
| 7 | Xi lanh | JL360-020 | 1 | 20 |
| 8 | Piston | JL360-035 | 1 | 35 |
| 9 | Vòng X. | 4451 | 1 | 36 |
| 10 | Vòng chụp | S52029-451 | 1 | 32 |
| 11 | Vòng X. | 4432 | 1 | 34 |
| 12 | Vòng chụp | S52029-458 | 1 | 33 |
| 13 | Trục đầu vào | JL360-022 | 1 | 22 |
| 14 | Chìa khóa | GB/T1567-79 | 1 | 23 |
| 15 | Hex Nut | DIN6915A HV10 | 32 | 43 |
| 16 | Bu lông | JL360-042 | 16 | 42 |
| 17 | Vỏ ly hợp | JL360-044 | 1 | 44 |
| 18 | Bán tại. Đĩa ma sát | 3/0530/0034/1 | 9 | 37 |
| 19 | TRONG. Đĩa ma sát | 3/0539/0046/2 | 9 | 40 |
| 20 | Tấm đẩy | JL360-041 | 1 | 41 |
| 21 | Mùa xuân | 410-021-215 | 9 | 24 |
| 22 | Người vận chuyển ly hợp | JL360-038 | 1 | 38 |
| 23 | Mang | 42520E | 1 | 11 |
| 24 | Lắp ly hợp | JL360-082 | 1 | 82 |
| 25 | Dầu trong bụi bệ. | JL360-008 | 1 | 8 |
| 26 | Mang | 32226 | 1 | 7 |
| 27 | Thiết bị trục đầu vào | JL360-006 | 1 | 6 |
| 28 | Mang | 32228 | 1 | 5 |
| 29 | O-ring | GB/T3452.1-82 | 2 | 19 |
| 30 | Trans-in Trans Trans | JL360-009 | 1 | 9 |
| 31 | Mang | 111 | 1 | 4 |
| 32 | Vòng niêm phong | 300-01-016 | 2 | 3 |
| KHÔNG. | Sự miêu tả | Số bản vẽ. | QTY | Nhận xét |
| 1 | Vòng chụp | GB/T894.1-86 | 1 | |
| 2 | Bánh xe xoay | JL360-045 | 1 | |
| 3 | Tuyến | JL360-052 | 1 | |
| 4 | Mùa xuân | NB170-017 | 8 | |
| 5 | Mang | 903942E | 1 | |
| 6 | Miếng đệm | JL360-056 | 1 | |
| 7 | Mang | 3053730 | 1 | |
| 8 | Bush spacer | JL360-058 | 1 | |
| 9 | Vòng tròn | JL360-1-077 | 1 | |
| 10 | Tấm áp lực | JL360-060 | 1 | |
| 11 | Mang | 39434E | 1 | |
| 12 | Tấm áp lực | JL360-062 | 1 | |
| 13 | Bánh răng | JL360-064 | 1 | |
| 14 | Chìa khóa | GB / T1096-79 | 1 | |
| 15 | Trục đầu ra | JL360-047 | 1 | |
| 16 | Mang | 3003740 | 1 |
| KHÔNG. | Sự miêu tả | Số bản vẽ. | QTY | Nhận xét |
| 1 | Nhà ở | JL360-054 | 1 | 54 |
| 2 | Bu lông | GB/T5782-86 | 2 | 83 |
| 3 | Bu lông | GB/T5782-86 | 6 | 78 |
| 4 | Ghim | GB / T118-86 | 2 | 73 |
| 5 | Bu lông | GB/T5783-86 | 12 | 70 |
| 6 | Đặt hơi | 120C-04-000 | 1 | 63 |
| 7 | Bu lông | GB/T5783-86 | 16 | 74 |
| 8 | Tấm che | JL360-075 | 2 | 75 |
| 9 | Miếng đệm | JL360-076 | 2 | 76 |
| 10 | O-ring | GB/T3452.1-82 | 1 | 80 |
| 11 | Ghim | GB/T119-86 | 2 | 31 |
| 12 | Bu lông | GB/T5783-86 | 4 | 67 |
| 13 | Chia niêm phong nắp | JL360-066 | 1 | 66 |
| 14 | Đóng gói | 15,9 × 15.9 | 1 | 81 |
| 15 | Hạt | GB/T6170-86 | 4 | 68 |
| 16 | Bu lông | GB/T5783-86 | 16 | 50 |
| 17 | Tay áo vách ngăn dầu | JL360-002 | 1 | 2 |
| 18 | Khối phân phối | JL360-001 | 1 | 1 |
| 19 | Bu lông | JB/T1000-77 | 2 | 13 |
| 20 | Máy giặt đồng | Q20-03 | 2 | 14 |
| 21 | Nhà ở thấp hơn | JL360-012 | 1 | 12 |
| 22 | Hạt | GB/T6170-86 | 6 | 77 |
| 23 | Con dấu dầu | GB/T9877.1-88 | 2 | 46 |
| 24 | Lớp phủ lớn | JL360-015 | 1 | 15 |
| 25 | Bu lông | GB/T5782-86 | 10 | 69 |
| 26 | Đóng gói | 9,5 × 9,5 | 1 | 27 |
| 27 | Bìa niêm phong phân tách đầu vào | JL360-026 | 1 | 26 |
| 28 | O-ring | GB/T3452.1-82 | 1 | 25 |
| 29 | Ghim | GB/T120-86 | 2 | 19 |
| 30 | Bu lông | GB/T5782-86 | 6 | 16 |
. Thời điểm quán tính
I1. Mặt bích đầu vào và một phần của trục đầu vào.
I2. Xi lanh, piston, chất mang ly hợp, đĩa ma sát bên trong, trục dầu và một phần của trục đầu vào.
I3. Vỏ ly hợp, mặt bích ly hợp, đĩa ma sát bên ngoài và một phần của bánh răng trục đầu vào.
I4. Một phần của thiết bị trục đầu vào.
I5. Thiết bị đầu ra và một phần của trục đầu ra.
I6. Một phần của trục đầu ra.
. Độ cứng xoắn
C1. Trục đầu vào
C2. Thiết bị trục đầu vào
C3. Trục đầu ra
. Thời điểm quán tính
| Mã số | Tỷ lệ | Thời điểm quán tính |
| i | Tôi (kg · ㎡) | |
| I1 | 2. 56 | 0. 9137 |
| I2 | 2. 56 | 1. 1786 |
| I3 | 2. 56 | 3. 9177 |
| I4 | 2. 56 | 0. 2862 |
| I5 | 2. 56 | 9. 734 |
| I6 | 2. 56 | 0. 729 |
. Độ cứng lò xo xoắn và đường kính trục
| Mã số | Tỷ lệ | Độ cứng lò xo xoắn | Đường kính trục |
| i | C (10 N · m/rad) | d (mm) | |
| C1 | 2. 56 | 5. 18 | 110 |
| C2 | 2. 56 | 12. 66 | 130/45 |
| C3 | 2. 56 | 9. 79 | 150 |
Ghi chú:*1 Giá trị tuyệt đối, không chuyển đổi giá trị
*2 trục rỗng
Địa chỉ
Số 148 làng Dongfeng, huyện Tiêu Sơn, thành phố Hàng Châu, tỉnh Chiết Giang, Trung Quốc
điện thoại